发烧论坛

注册

 

返回列表 12345678» / 15
发新话题 回复该主题

试听搭配ATC SCM 40扬声器。搭配麦景图MA 7900合并机,贵丰小菠... [复制链接]

查看: 394549|回复: 143
11#

回复 8# eric 的帖子

十万,前级+CD(或开盘机)。
音源:LP,DR. FEICKERT ANALOGUE Woodpecker+SME 309+BENZ LP-S,ASR Basis Exclusive ;SACD:ESOTERIC X-01  Limited;  PIONEER CT-F1250
前级:mixing MC300-PSE;
音箱:ATC-100;
NBS+PAD+LiveCable+Duelund diy。
TOP
12#

ATC 40靓箱,希望可以发掘出更多性价比相对高的功放,造福大众阿。
TOP
13#

搬个板凳,前排坐听E版HIFI分享!
TOP
14#

这个搭配强强联手,精彩。
TOP
15#

164mm应该是6.5吋,E版误写成了8吋。
TOP
16#

听E版分享!
TOP
17#

原帖由 SPETR 于 2016/4/14 21:47:00 发表
164mm应该是6.5吋,E版误写成了8吋。


非常感谢细心的您。
我没有笔误哦。
之前我在论坛提到过,喇叭单元的大小没有一个世界统一的行业标准,多少寸,是厂家各自表述,于是,百花齐放。
ATC比较保守,传统英国作风,厂方是标164mm,换算是6.5寸;但,实际按照国际通行的计量方法,40的这个低音单元应该算是8寸的。
实际聆听效果也是。
您的时间在那里,您的成功就在那里!
TOP
18#

就是,从图片上看,也好像比6.5寸的大一些。
对ATC40一直很感兴趣,非常期待e版的搭配推荐!
TOP
19#

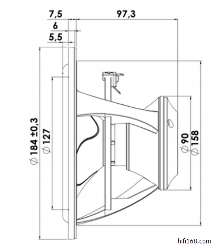
厂家标40的低音是164mm,我们可以来看看真实的数据。

现在,一般的厂家都以整个低音单元的框架来算低音单元的直径,如果这样算,40的低音有8.3寸。






另一个算法是按泡沫边来算,这样算法的厂家已经比较少,40是7寸。






大家不妨来集思广益,看看自己家的低音单元直径和厂家数据之间有没有什么差异?
最后编辑eric 最后编辑于 2016-04-15 19:18:41
您的时间在那里,您的成功就在那里!
TOP
20#

看来厂商的标准没有完全统一。
这是绅士宝的标法。



Φ158mm接近喇叭的口径。可能喇叭口径与安装无关,所以厂家就没具体标示在图纸上。
最后编辑SPETR 最后编辑于 2016-04-15 21:07:47
TOP
发新话题 回复该主题